Niektórzy wierzą, że w silniku siedzi zgraja małych ludzików, którzy go napędzają. A ty? Jeśli nie wyznajesz tej religii, sprawdź jak działa i jak jest zbudowany tłok, korbowód oraz wał korbowy.
Mechanizm korbowy
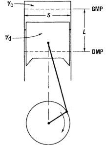
To połączenie trzech elementów, które w przypadku motocykla są następujące: tłok, korbowód i wał korbowy. Ten mechanizm, obecny w każdym silniku tłokowym, powoduje zamianę ruchu posuwisto-zwrotnego na obrotowy (lub odwrotnie).

Tłok
Przemieszcza się w górę i w dół ok. tysiąc razy na minutę, mogąc osiągnąć przy tym prędkość 200km/h. Wytrzymuje piekielnie wysokie temperatury sięgające nawet 2 000°C i jest niezastąpionym elementem silnika. Przekazuje siłę pochodzącą z ciśnienia gazów spalinowych na wał korbowy (przy pomocy korbowodu) i tym samym wprowadza go w ruch.
Tłok składa się z:

I. Części uszczelniającej:
a. Denko tłoka – przyjmuje na siebie siły gazowe i właśnie z tego powodu musi być niezmiernie wytrzymałe. Jakie są na to patenty? Najczęściej jest ono użebrowane od wewnątrz – ułatwia to odpływ ciepła do części pierścieniowej. Można spotkać się z różnymi kształtami. Są to m.in. denka wklęsłe (np. silnik diesel), płaskie lub lekko wypukłe (najczęściej stosowane w silnikach o zapłonie iskrowym).
b. Część pierścieniowa – znajdują się w niej pierścienie. W silnikach dwusuwowych znajdziesz od 1 do 4 pierścieni, a w czterosuwowych od 2 do 4. Zależy to m.in. od stopnia sprężania, lecz najczęściej w motocyklach spotykane są trzy pierścienie.
I. Pierwszy z nich (uszczelniający/kompresujący) uszczelnia cylinder. Jeśli zostanie zużyty, motocykl może nadmiernie zużywać olej, który dostarczany jest przez dolny pierścień, aby sworzeń tłoka mógł być odpowiednio smarowany.
II. Kolejny pierścień kompresyjno-zgarniający zatrzymuje gazy, które przedostały się przez pierścień uszczelniający oraz zgarnia nadmiar oleju z gładzi (wewnętrznej części) cylindra. W nowszych konstrukcjach odchodzi się od jednoczęściowych pierścieni zgarniających, ponieważ są sztywne i mają gorszą zdolność wypełniania formy.
III. Dolny pierścień (olejowy/zbierający) zbiera nadmiar oleju ze ścianki cylindra podczas ruchu tłoka. Umożliwia powrót oleju przez szczeliny w pierścieniu i tłoku do kadłuba silnika. UWAGA! Nie występuje on w silniku dwusuwowym, ponieważ olej dostarczany jest wraz z paliwem, a jego spalanie jest zamierzone. Tam trzeci pierścień pełni funkcję wspomagającą.


Każdy z pierścieni delikatnie wystaje na zewnątrz tłoka. Zdarza się, że na skutek eksploatacji wokół nich (od tłoka) zbiera się nagar, który należy usunąć przed wymianą. Jeśli tego nie zrobisz, pierścienie mogą wystawać na tyle, że tłok nie zmieści się w cylindrze.
II. Części nośnej (prowadzącej)
c. Płaszcz tłoka
d. Piasty sworznia tłokowego- sztywne piasty łączą, poprzez sworzeń, tłok z korbowodem. Znajdujący się wewnątrz piasty, sworzeń jest smarowany olejem, dzięki szczelinom z pierścieni zgarniających. Pierścienie Seegera zabezpieczają sworzeń przed przesunięciem osiowym.


Tłoki wykonuje się głównie jako odlewy. Obróbka cieplna ma za zadanie polepszenie własności wytrzymałościowych i zwiększenie twardości powierzchni oraz usunięcie naprężeń wewnętrznych i stabilizacja wymiarów. Najczęściej używane materiały to: żeliwo niestopowe i stopowe oraz stopy aluminium z krzemem. Uważajcie na tłoki odlewane z klamek, czyli dorabiane u prywaciarzy. Zazwyczaj wykonane są z niskiej jakości materiału, przez co wypalają się, pękają, przycierają w cylindrze z powodu pęcznienia itp. Wszystkie elementy tłoka muszą być smarowane. Gdyby tak się nie działo, każdy przesuw tłoka w cylindrze byłby porównywalny z wzajemnym frezowaniem się tych dwóch elementów. W celu poprawienia poślizgu tłoka w wewnątrz cylindra, nakłada się na niego cieniutkie warstwy np. ołowiu lub cyny.
Korbowód
Korbowód to łącznik pomiędzy tłokiem, a wałem korbowym. Porusza się na skutek sił wywołanych gazami spalinowymi na tłok, czyli po wybuchu mieszanki.
Z czego składa się korbowód?
- GŁÓWKA – tutaj znajduje się sworzeń tłoka, czyli miejsce łączenia. W jej środku mamy też panewkę sworznia tłokowego, inaczej zwaną tuleją ślizgową.
- TRZON – kolejny element łączący- tym razem główki ze stopką. Ma on zazwyczaj przekrój dwuteowy.
- STOPA – połączona z pokrywą za pomocą śrub obejmuje część wału korbowego, czyli czopu. Panewka korbowodowa umieszczona w stopie (dwie półpanewki) umożliwia współpracę czopu wału korbowodowego ze stopą korbowodu.

Stopy mogą mieć rożny kształt. Najczęściej spotykanym rozwiązaniem są korbowody z dzieloną stopą, która ułatwia montaż, jednak głównie w starszych motocyklach stosowano te z niedzieloną. W takim przypadku zamiast panewek stosowano łożyska igiełkowe na stopie i w główce. Przy demontażu korbowodu rozpołowienie wału było konieczne. Panewki są nieodłącznym elementem łożysk ślizgowych. Dzięki nim korbowód zaciska się na czopach wału korbowego i pozwala na kontynuację zamiany ruchu posuwisto-zwrotnego na obrotowy. Oczywiście metal nie mógłby pocierać o metal, zatem pomiędzy powyższymi elementami znajduje się tzw. film olejowy, przepływający na ukos panewki. Takie ułożenie powoduje równomierne smarowanie całej panewki.
Coś stuka? Klepie? Być może odzywa się panewka. Główną przyczyną ich uszkodzeń jest przerwanie filmu olejowego, który skutkuje tarciem powierzchni i powstaniem luzu, a co za tym idzie zatarciem (zatrzymanie pracy motoru) lub charakterystycznym klepaniem. Zignorowanie tego dźwięku będzie bardzo kosztowne, bowiem najczęściej uszkodzeniu ulega czop wału korbowego niemający zamienników ani patentów naprawczych. W takiej sytuacji zazwyczaj bardziej opłaca się kupić używany silnik, niż wymienić wał.

Wał korbowy
Wały korbowe różnią się od siebie zależnie od konstrukcji silnika, ilości i układu cylindrów oraz kolejności zapłonów. W silnikach rzędowych ilość czopów korbowych zawsze będzie równa ilości cylindrów. Natomiast w silnikach typu boxer i tzw. V-kach , czyli silnikach widlastych, znajduje się ilość czopów o połowę mniejsza niż ilość cylindrów. Dlaczego? Zazwyczaj na jednym czopie osadza się dwie stopy korbowodów. Oznacza to, że w harleyowskim przypadku mamy tylko jeden czop korbowy.


Podstawowymi elementami wału są:
-
- Czopy główne – leżą w osi łożysk wału i są niezbędne do zamocowania wału w kadłubie silnika. Ich najważniejszym zadaniem jest wyznaczenie osi obrotu.
- Czopy korbowe – mocuje się na nich korbowody zakończone tłokami. To te oddalone od osi łożysk i mniejszym przekroju od czopów głównych.
- Ramiona wału – łączą czopy główne z korbowymi.
- Przeciwciężary – są przedłużeniami ramion, które umożliwiają wyrównoważenie układu korbowo-tłokowego. Mogą być one odlewane razem z wałem korbowym lub też przykręcane osobnymi śrubami.
Jak już powszechnie wiadomo smarowanie jest niezbędnym aspektem, zatem tutaj również nie mogłoby go zabraknąć. Wewnątrz ramion oraz czopów wału korbowego nawiercone są otwory i kanały, którymi dopływa olej.
Na końcach wału korbowego mogą znajdować się takie elementy jak: koła zamachowe, napęd rozrządu, alternator, koła zębate pompy oleju itp.

Wiesz jak działa silnik dwusuwowy? Sprawdź koniecznie ->tutaj<-!
Autor: Julia Łuczyńska (Rock N’ Bikes)
