Segment trójkołówców, wbrew niechęci pewnej części środowiska motocyklowego, stale się rozwija. Sprzyjają temu unikalne właściwości tych pojazdów oraz korzystne przepisy, pozwalające na jazdę niektórymi z nich kierowcom z prawem jazdy kat. B. Kawasaki od kilku lat pracuje nad swoim trójkołowcem, a ujawniane stopniowo szczegóły jego konstrukcji zaostrzają nasz apetyt.
Po co w ogóle powstała koncepcja trójkołowca z dwoma kołami z przodu i mechanizmem umożliwiającym przechyły w zakrętach? Główna idea to połączenie odczuć z jazdy typowym jednośladem ze zwiększoną przyczepnością, jaką generuje drugie przednie koło. Pomysł ten sprawdził się bardzo dobrze w przypadku skuterów. Piaggio MP3 jest od dawna hitem na zachodzie Europy, w jego ślady poszedł Peugeot z modelem Metropolis, a za nimi m.in. Yamaha z Tricity 125 i 300 oraz Kymco z modelem CV3.
Dodatkowym powodem atrakcyjności trójkołowców i ich sukcesu rynkowego (póki co na Zachodzie, u nas ich popularność też stopniowo rośnie) jest fakt, że można nimi jeździć posiadając tylko prawo jazdy kat. B. W przeciwieństwie do tradycyjnych motocykli czy skuterów klasy 125, nie ma przy tym ograniczeń w pojemności i mocy. Muszą one mieć homologację L5e, której warunkami są co najmniej dwa koła w jednej osi (przedniej lub tylnej) oraz minimalny rozstaw pary kół wynoszący 460 mm. Wyklucza to motocykle z wózkiem bocznym oraz m.in. Yamahę Niken, która z rozstawem przednich kół wynoszącym 410 mm posiada homologację L3e i jest traktowana jak zwykły motocykl. I w sumie bardzo dobrze, gdyż oddawanie jej 115 KM mocy osobom przez motocyklowego przeszkolenia nie wydaje się trafionym pomysłem.

Nie zmienia to faktu, że kierowcy z samochodowym prawem jazdy mogą prowadzić naprawdę mocne i szybkie trójkołowce. Obecnie najmocniejszym modelem z homologacją L5e na rynku jest tajwańskie Kymco CV3, napędzane 53-konnym silnikiem, który pozwala na rozpędzenie się do niemal 180 km/h!
Koncepcja Kawasaki
Do trójkołowego wyścigu dołączy niedługo Kawasaki. A w zasadzie już dołączyło, ponieważ od kilku lat prowadzi intensywne prace nad tego typu konstrukcją. W 2021 roku Japończycy zaprezentowali wersję koncepcyjną, obecnie pracują nad wersją produkcyjną, a do mediów wyciekają kolejne szkice patentowe. Wszystko wskazuje na to, że trójkołowiec Kawasaki będzie szybkim motocyklem, podobnie jak Yamaha Niken, a nie skuterem.

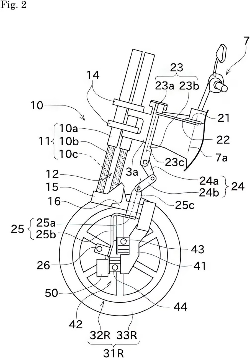
Ostatnie szkice, opublikowane w serwisie motorcyclesports.net, dają pewien wgląd w szczegóły przedniego zawieszenia. Nie jest to jeszcze projekt konkretnego modelu, tylko ogólna ilustracja systemu, który firma będzie chciała wykorzystać. W przeciwieństwie do układów stosowanych w Yamasze i Piaggio, Kawasaki planuje umieścić mechanizm przechyłu pod, a nie nad głównym zawieszeniem. Oznacza to, że będzie to element nieresorowany. Podobny system stosuje już należąca do Kawasaki marka Noslisu, która produkuje trójkołowe elektryczne rowery rekreacyjne i dostawcze.

Kawasaki zapowiada, że nowa platforma będzie mogła być użyta zarówno w modelach z napędem spalinowym, jak i elektrycznym. Czekamy więc na jesienne targi motocyklowe, w czasie których zapewne poznamy albo kolejny koncept, albo wersję produkcyjną trójkołowca Kawasaki.
