Prawdopodobnie niebawem powstanie motocykl od Zielonych z takim właśnie rozwiązaniem technicznym. Świadczą o tym patenty zarejestrowane przez ten japoński koncern.
Rozwiązanie różni się od tych stosowanych w innych motocyklach, jak na przykład Hondach DCT NC750X i Africa Twin z dwusprzęgłową skrzynią, czy nieprodukowanej już Aprili Mana 850.

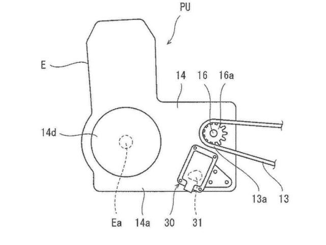
Rysunki patentowe Kawasaki wskazują, że inżynierowie tej firmy postanowili pójść odmienną drogą. Otóż zmiana biegów w ich skrzyni będzie mogła odbywać się na dwa sposoby. Po pierwsze nadal będzie można wykorzystać w tym celu dźwignię nożną. Jednak zmiana przełożenia nie będzie odbywać się mechanicznie, jak do tej pory. Ruch dźwigni będzie uruchamiał moduł elektroniczny, który następnie będzie przekazywać sygnał do skrzyni, za pośrednictwem specjalnego układu elektryczno – mechanicznego, w którym, oprócz czujników, znajdą się również siłowniki. Gdzie zatem tkwi korzyść? Elektronika ma szybciej poradzić sobie ze zmianą biegu.

O ile w turystykach czy cruiserach nie ma to większego znaczenia, to w przypadku superbike’ów już tak. Dodatkowo system pozwoliłby uniknąć wrzucania biegu na przykład przy zbyt niskich obrotach czy też wyeliminować przypadkowe wrzucanie luzu.

Zmiana biegu kciukiem?

Jeszcze krócej ma trwać zmiana przełożenia z wykorzystaniem przełączników na kierownicy motocykla. Z informacji które wyciekły do Internetu wynika, że Kawasaki pracuje również nad taką możliwością.
Nowa skrzynia biegów prawdopodobnie trafi w pierwszej kolejności do modeli turystycznych i sportowo-turystycznych. W dalszej przyszłości mogą być w nią wyposażone na przykład cruisery. W tych ostatnich moduł elektroniczny ma przede wszystkim uprościć konstrukcję skrzyni biegów i ułatwić obsługę nożnej dźwigni. Dotyczy to w szczególności modeli, gdzie nogi kierowcy są w pozycji mocno wyciągniętej do przodu. Układ elektroniczny zastąpi w nich nieporęczny system dźwigni.
Jazda na benzynie lub prądzie? Napęd hybrydowy w Kawasaki coraz bliżej! [VIDEO]
