BMW złożyło dokumenty patentowe na silnik trzycylindrowy w układzie W. To zaskakujące rozwiązanie techniczne może znaleźć się w planowanej przez niemiecki koncern nowej linii cruiserów nieobecnej w ofercie od czasów sławnego R1200C.
Rynek motocyklowy zrewolucjonizować niezwykle trudno. Dokładanie kolejnych elektronicznych systemów do stosunkowo prostej konstrukcji, jaką jest jednoślad powoduje wzrost masy i obniża przydatność tego środka transportu jako narzędzia frajdy.
Przed producentem, który chciałby być postrzegany jako awangarda w tej branży stanęło więc niełatwe zadanie. Po unikalnym silniku bokser, który pracuje w motocyklach linii modelowej R oraz potężnej rzędowej szóstce z modelu K1600 bawarscy inżynierowie postanowili stworzyć coś, czego nie próbował dotąd nikt inny.
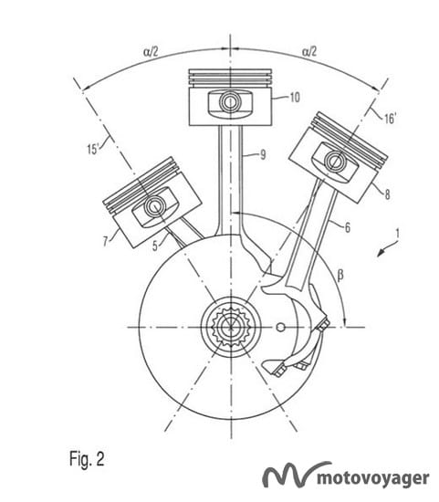
Nowa jednostka napędowa z Monachium wyposażona będzie zatem w trzy cylindry ułożone w układzie W. W praktyce wygląda to tak, jakby do V-twina dodać jeszcze jeden, środkowy cylinder.
Taka konstrukcja, dzięki smukłości i znakomitemu momentowi obrotowemu, wydaje się znakomitym rozwiązaniem do cruiserów. Portal Jalopnik spekuluje, że nad takim projektem pochylają się właśnie inżynierowie BMW.
Ostatnim cruiserem w gamie bawarskiego producenta był model R1200C, który zyskał popularność dzięki udziałowi w jednej z części serii o przygodach Jamesa Bonda. Niestety sporo problemów technicznych i spadający popyt zmusiły BMW do wycofania tego modelu z produkcji.
