Nowa Honda CBR1000RR otrzyma przednie reflektory wykonane w technologii LED. Tak wynika z dokumentacji, jaką japoński producent złożył w amerykańskim biurze. To pierwsza tak ważna informacja na temat nowej Cebry.
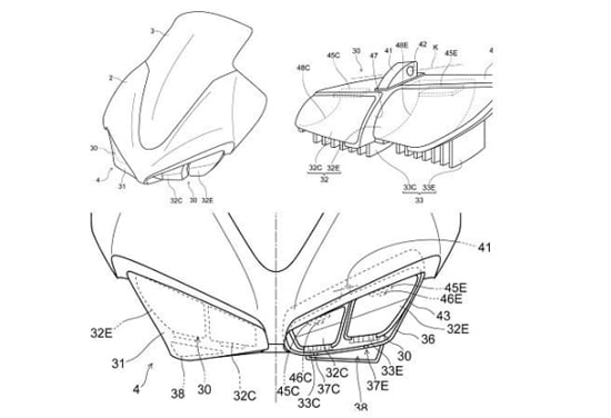
Dokumenty złożone w amerykańskim biurze patentowym wskazują, że jeden z najpopularniejszych modeli Hondy – CBR1000RR, doczeka się wkrótce co najmniej poważnego restylingu. Zgodnie z amerykańskim prawem patentowym, dokumentacja patentowa jest jawna, co ma na celu zapewnienie procesowi uznawania patentu niezbędnej otwartości.
[sam id=”11″ codes=”true”]
Dzięki tym przepisom możemy zapoznać się z całkiem nowym kształtem czachy nowej Cebry, w którym umieszczono 4 osobne moduły świetlne, które sądząc po fikuśnym kształcie, będą wykonane w technologii LED. Takie rozwiązanie wydaje się być najbardziej prawdopodobne – zarówno pod względem designu i konstrukcji, jak i zaawansowania technologicznego.
Z nieoficjalnych informacji wynika, że Honda prowadzi testy aerodynamiczne nowej czachy. Premiera nowego modelu CBR1000RR planowana jest podczas tegorocznych targów EICMA.
