Skrzydełka (winglety) zwiększające docisk przodu motocykla do nawierzchni przy wysokich prędkościach zrobiły w ostatnich latach sporą karierę. Są powszechnie stosowane w maszynach wyścigowych, a także drogowych modelach sportowych. Jednak ich czas być może właśnie się kończy. Honda złożyła wnioski patentowe dotyczące owiewek, które w całości przejmą rolę dodatkowych skrzydełek.
Najnowszy flagowy superbike Hondy, model CBR1000RR-R Fireblade SP, trzyma „modną” linię z dorodnymi wingletami. Inżynierowie pracujący dla koncernu z Tokio przyznają jednak, że rozwiązanie to ma nie tylko zalety. Owszem, przy odpowiedniej prędkości skrzydełka zwiększają docisk do asfaltu, natomiast same w sobie zwiększają jednocześnie opór aerodynamiczny.
Honda CBR600RR: supersport zmartwychwstały [opis, prezentacja, moc, masa, waga]
Jedno duże skrzydło
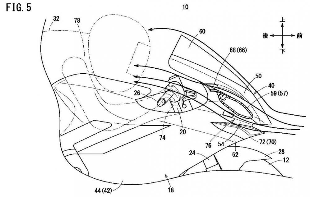
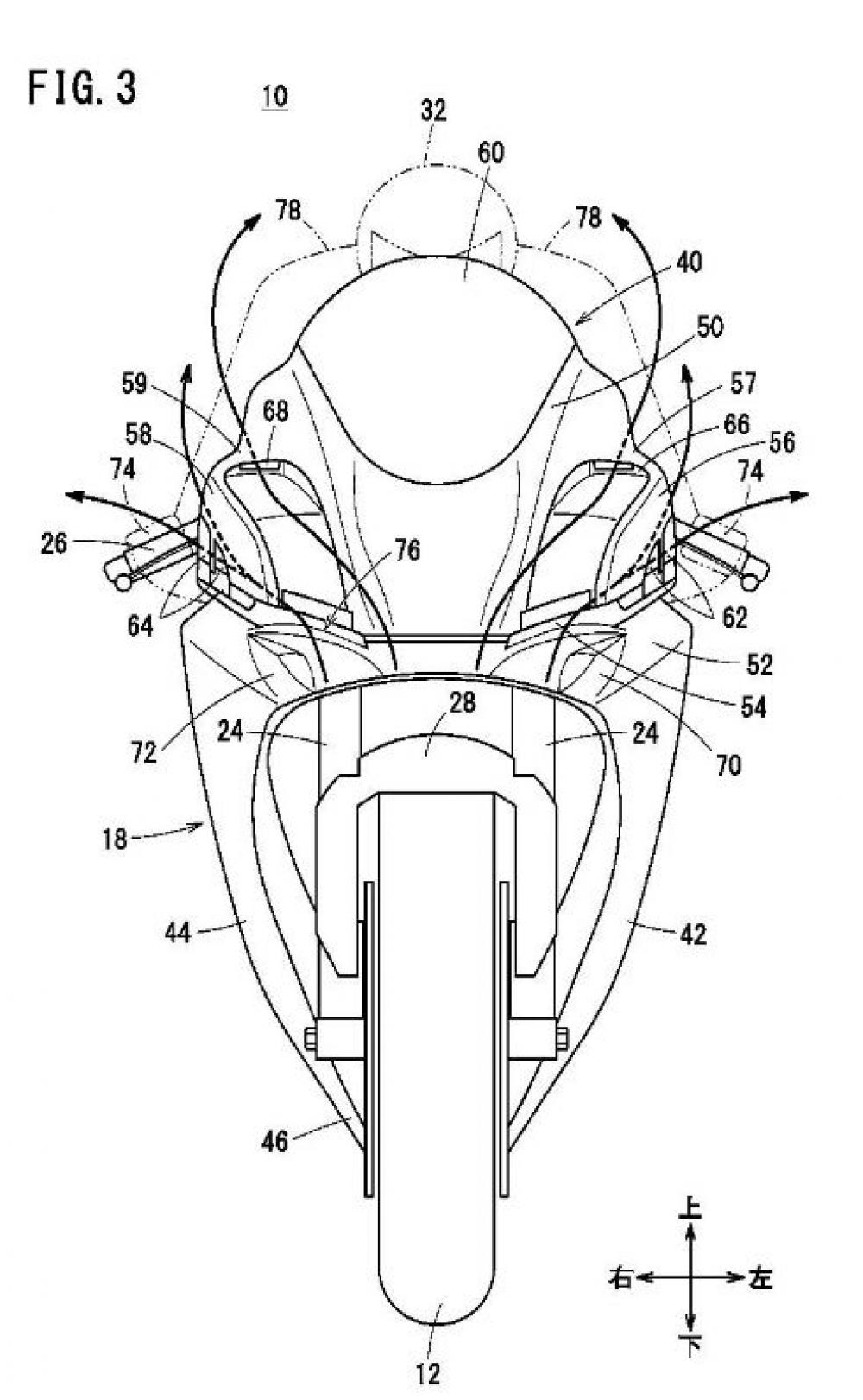
Honda postanowiła więc spróbować pójść nieco inną drogą. W ujawnionych niedawno wnioskach patentowych widzimy nowe podejście do kwestii zwiększania docisku. Nowa czasza i boczne owiewki są pozbawione wingletów, bo same przejęły ich rolę.

Zastosowano dwa duże wloty powietrza w przedniej części motocykla, na wysokości kierownicy, a także kanały przelotowe i wyloty w bocznych owiewkach. Całość funkcjonuje jak odwrócone skrzydło i dociska motocykl do nawierzchni.

Według twórców tego rozwiązania, pozwoli ono na poprawę stabilności, a jednocześnie zredukowanie oporów powietrza i zwiększenie prędkości motocykla. Wygładzono również strugi opływające kierowcę, dzięki czemu przednia owiewka może być mniejsza i bardziej smukła. Jeżeli ten układ owiewek trafi również do motocykli o bardziej turystycznym zastosowaniu, dojdzie jeszcze jedna zaleta, w postaci zmniejszonego zużycia paliwa.

