Kolejne ujawnione szkice patentowe budzą nadzieję na powrót uwielbianej przez lata Hondy Transalp. Niewykluczone, że będziemy mieć do czynienia z ultranowoczesnym motocyklem enduro z silnikiem hybrydowym.
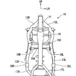
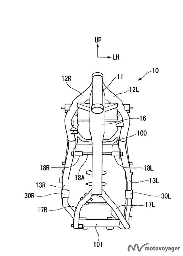
Co jakiś czas, niby to przypadkiem, na światło dzienne wychodzą rysunki techniczne składane przez różnych producentów w urzędach patentowych, które pokazują kierunek prac i są często wstępem do spektakularnych premier. Tym razem powód do radości mają miłośnicy legendarnego turystycznego enduro wagi średniej, czyli Hondy Transalp. W sieci pojawiły się szkice dotyczące tylnego wahacza i mocowania silnika w ramie tajemniczego motocykla, którego kształt budzi nadzieję na odrodzenie kultowego Trampka.

Jest też kolejny aspekt tej historii, związany z nowoczesną technologią. Jak wiadomo jednym z grabarzy poprzednich generacji Transalpa były drakońskie europejskie normy emisji spalin. Honda od jakiegoś czasu intensywnie pracuje nad motocyklowym silnikiem hybrydowym, który wyprzedzi wymagania ekologów i na długi czas znajdzie swoje miejsce w różnych modelach tej marki. Być może nowy Trampek znów będzie przecierał szlaki – nie tylko te terenowe.




Transalp lepiej mi się podoba nawet od tych nowych modeli .