Internet obiegły szkice patentowe, które potwierdzają, że KTM pracuje nad półautomatyczną skrzynią biegów pracującą z silnikiem LC8. Potrzeba dzisiejszych czasów czy możliwość wyboru?
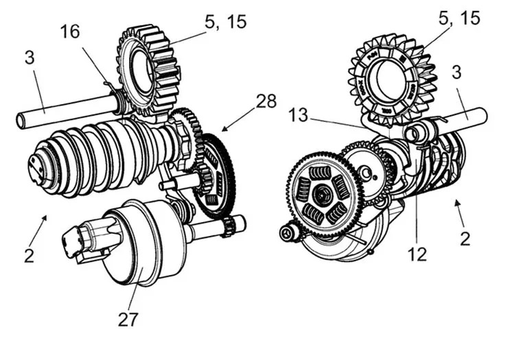
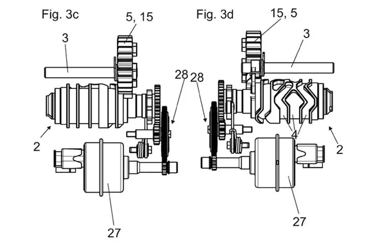
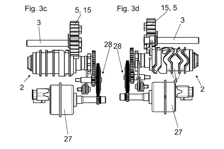
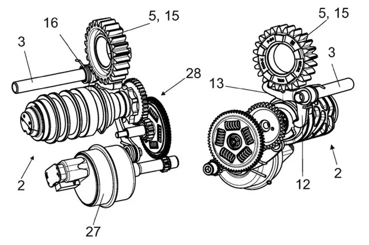
Przedstawione poniżej rysunki zostały opublikowane wraz z publikacją najnowszego rozwiązania blokującego skrzynię biegów, który ma zapobiegać samoczynnemu poruszeniu się. Tutaj jednak pojawiła się również spora nowość – sama skrzynia pracowałaby ze sprzęgłem odśrodkowym, jednakże rozłączana byłaby podczas niskich obrotów silnika, czyli w momencie chociażby zatrzymywania się. Może być ona obsługiwana dzięki tradycyjnej dźwigni lub jak w przypadku modeli Hondy ze skrzynią DCT, za pomocą klawisza umieszczonego na kierownicy. Kierowca będzie mógł sam wybrać czy w danym momencie chce zmieniać przełożenia standardowo za pomocą lewej stopy czy skorzysta z przycisków. Prace nad mechanizmem zblokowania skrzyni biegów mają z kolei pozwolić na ustawienie jej w tryb parkingowy (działający identycznie jak w przypadku samochodów osobowych), a następnie bezpieczne zaparkowanie motocykla.
Opublikowane szkice patentowe są niezwykle dokładne i zdradzają, że półautomatyczna skrzynia biegów będzie pracować z jednostką LC8, która montowana jest w 1290 Super Duke i 1290 Super Adventure.




