BMW jest od lat jednym z głównych innowatorów w dziedzinie oświetlenia adaptacyjnego w motocyklach. Najnowsze rozwiązanie, nad jakim pracuje niemiecka firma, polega na wykorzystaniu mechanizmu zbliżonego do popularnych gimbali. Umieszczone na nim elementy świetlne oraz kamera mają dać zupełnie nowe możliwości w zakresie komfortu i bezpieczeństwa jazdy po zmroku.
W modelu R 1250 GS dostępny był opcjonalny reflektor adaptacyjny, w którym światła mijania mechanicznie obracały się w kierunku szczytu zakrętu, maksymalnie o 35° w każdym kierunku. Z kolei w najnowszym R 1300 GS BMW odeszło od fizycznego ruchu reflektora i w systemie Headlight Pro postawiło na zestaw diod LED. Kiedy motocykl się pochyla, poszczególne diody włączają się i wyłączają, kierując wiązkę światła we właściwą stronę.
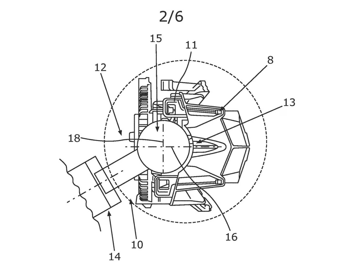
Wiele wskazuje na to, że w przyszłych modelach motocykli premium BMW powróci do idei ruchomego reflektora. W zgłoszeniu patentowym, do którego dotarli redaktorzy serwisu Cycle World, widzimy zestaw elementów świetlnych i kamerę umieszczone na wspólnym mechanizmie typu gimbal. Skojarzenie z popularnym akcesorium do nagrywania filmów telefonem jest jak najbardziej na miejscu. To po prostu stabilizator, działający za pomocą żyroskopu i silniczków elektrycznych.

Zawsze stabilny
W nowym projekcie BMW zasada działania ma być bardzo podobna. Zespół światła-kamera będzie umieszczony na zestawie siłowników, a informacja o pożądanym ruchu będzie płynęła z wieloosiowej jednostki IMU, mierzącej dokładne położenie motocykla w czasie rzeczywistym. Moduł ten jest od dawna na wyposażeniu większości motocykli klasy premium, dostarczając danych do pokładowych systemów bezpieczeństwa (choć nie tylko do nich).

Tego typu zestaw będzie w stanie utrzymać bardzo stabilny kierunek światła, niezależnie od ruchów i położenia samego motocykla. A po co w tym zestawie kamera? Na pewno nie do kręcenia ujęć z jazdy. Prawdopodobnie będzie ona wykorzystana do obsługi takich systemów jak asystent pasa ruchu, adaptacyjny tempomat czy wspomaganie hamowania. Całkiem możliwe również, że zestaw ten będzie wstępem do przeniesienia na motocyklowy grunt świateł matrycowych, montowanych od kilku lat w samochodach. Ten zaawansowany układ umożliwia ciągłą jazdę na światłach drogowych, a dzięki danym m.in. właśnie z frontowej kamery, jest w stanie selektywnie kierować wiązkę, tak by nie oślepiać kierowców nadjeżdżających z naprzeciwka.

Co ważne, system tego typu może nie wymagać specjalnej obudowy, będzie do więc można zamontować również na motocyklach bez owiewek. Czy będzie to sztuka dla sztuki, czy realna pomoc w czasie jazdy po zmroku? Poczekajmy na pierwszy model produkcyjny z tym oświetleniem.

Nadal czekam na laskomat. Inaczej tego złomu no nie kupię. :)