Koncern Toyota pracuje nad zastosowaniem wodoru nie tylko w autach, ale także w jednośladach. Niedawno złożone dokumenty patentowe opisują układ z wodorowym ogniwem paliwowym i wymiennym zbiornikiem. To rozwiązanie może być przydatne szczególnie w mieście, gdzie możliwość szybkiej wymiany nośnika energii daje wyraźną przewagę nad elektrykami, wymagającymi długiego ładowania akumulatora. Na razie jest to koncepcja techniczna, a nie zapowiedź modelu produkcyjnego.
Toyota od lat rozwija wodór jako jeden z elementów swojej strategii napędowej. Pracuje m.in. nad przenośnymi kartridżami wodorowymi, które mają być kompaktowym źródłem energii do różnych zastosowań – od urządzeń domowych po mobilne punkty usługowe. Teraz podobna idea pojawiła się w kontekście skutera z ogniwem paliwowym.
Szukasz akcesoriów motocyklowych? Jeśli tak, to polecamy sklep naszych przyjaciół z Motormind. Klikając w poniższy link i dokonując przez niego zakupów dokładacie cegiełkę do rozwoju i utrzymania naszego portalu. Dziękujemy!
Odzież i akcesoria motocyklowe – MotorMind
Jak działa taki napęd?
W tym przypadku nie mówimy o silniku spalinowym zasilanym wodorem. Skuter z ogniwem paliwowym jest pojazdem z napędem elektrycznym, ale prąd nie jest dostarczany z zewnątrz – powstaje na pokładzie. Wodór ze zbiornika trafia do ogniwa paliwowego, gdzie reaguje z tlenem z powietrza. Efektem są energia elektryczna dla silnika oraz woda jako produkt uboczny.

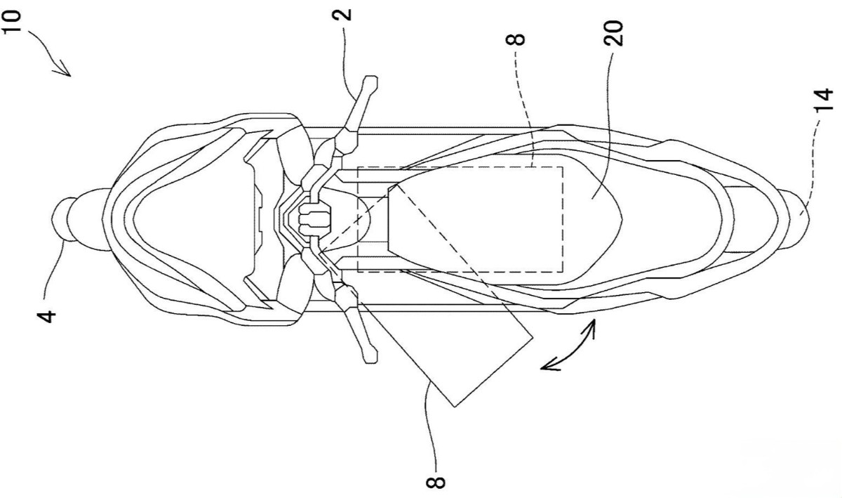
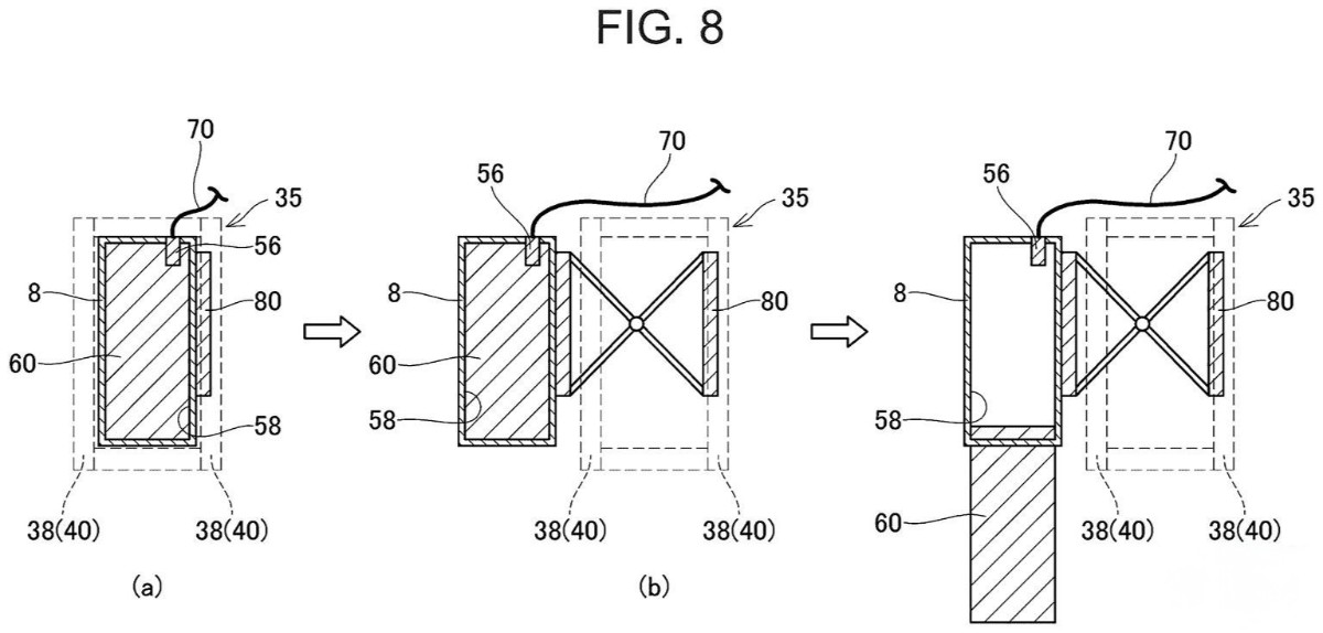
Najciekawszy element patentu dotyczy samego zbiornika. Zamiast wysokociśnieniowego tankowania skutera na stacji, Toyota stawia na system wymiennych kartridży. Użytkownik mógłby wyjąć pusty pojemnik i szybko włożyć pełny, podobnie jak wymienia się akumulator w niektórych skuterach elektrycznych.

Dużo sensu w jednośladach
W motocyklu i skuterze miejsce jest znacznie bardziej ograniczone niż w samochodzie. Zbiornik wodoru musi być zamontowany bezpiecznie, możliwie nisko i centralnie, ale jednocześnie powinien dać się łatwo wyjąć. Patent Toyoty opisuje mechanizmy, które mają to ułatwić: odchylany uchwyt i układ ramion wysuwających zbiornik poza obrys pojazdu.

Na rysunkach patentowych jako baza pojawia się sylwetka przypominająca Suzuki Burgmana. Nie musi to oczywiście oznaczać planu produkcji wspólnego modelu, choć Toyota bardzo ściśle współpracuje już z Suzuki w branży samochodowej. Maxiskuter Burgman jest jednak bardzo dobrym punktem odniesienia. To nie tylko sprawdzona, solidna konstrukcja. Był już wcześniej wykorzystywany jako „poligon” dla alternatywnych napędów. Suzuki Burgman Fuel-Cell Scooter z ogniwem paliwowym pojawił się już w 2011 roku i nawet uzyskał pełną europejską homologację, umożliwiającą jego sprzedaż, rejestrację i użytkowanie na drogach publicznych. Model ten trafił nawet do służby w brytyjskiej policji.

Na razie nie ma żadnych danych o mocy, zasięgu, masie i innych parametrach jednośladu z nową technologią Toyoty, a tym bardziej cenie czy możliwym terminie premiery. Złożony patent pokazuje natomiast kierunek rozwoju i stałe poszukiwanie alternatyw dla napędu spalinowego i elektrycznego z akumulatorami ładowanymi z zewnątrz.
